直排振動篩(下出料振動篩、直卸篩)
直排篩也稱直卸式振動篩,以單臺或兩臺臥式振動電機為激振源,振動電機置于機體一側(雙振動電機位于機體兩側),物料進入設備內部后,受振動源作用力在篩面上做橢圓運動軌跡,快速并往復,完成過網動作的同時,振動力能往并連續的對物料產生剝離、打散及重組的作用,從而使物料快速過網,不能過網的物料則按設備運動軌跡由篩上排料口排出,完成篩分作業過程。 新鄉法斯特專業制造直排振動篩,交貨工期快、質量之選(不開焊、振不裂,攻克技術難題)、價格之選、睿智之選。 直排振動篩是針對需要快速下料行業的粗篩(一般建議篩網使用不超過30目較好)工藝或者安全檢查設計的直排振動篩(安全檢查篩)、下排振動篩,下料快。 直排振動篩/下排振動篩應用范圍: 法斯特FASTZ直排振動篩又名下排振動篩、下出料振動篩、直排震動篩、直排旋振篩、圓形振動篩、大產量振動篩、安全檢查篩,是一種多用途新型振動篩分機,可采用雙電機結構形式和單電機結構形式,物料的運行軌跡有多種調節形式,設備適應性顯著增加;物料直接排放 ,有大的處理量。FASTZ—1000型篩機,網目24目,在線篩分制造方便面用小麥粉,用于除雜、增加小麥粉比表面積, 可達到350Kg/150秒,多用于面粉、淀粉、洗衣粉、金屬粉、添加劑、化工、非礦等行業的顆粒、粉末的粗略篩分、精密篩分,處理量大、易與生產線結合。您可600mm至1500mm之間有更多的選擇。 直排振動篩/下排振動篩產品概述: 直排振動篩的作用原理:振動電機軸上下端地兩組偏心塊(不平衡偏心塊),將振動電機地旋轉運動變為水平、垂直、傾斜以及離心作用地多作用力重疊。再將這種作用力傳遞給篩面。改變上下偏心塊地相位角和重量,可以改變激振力地大小和物料地運動軌跡。 
直排振動篩/下排振動篩工作特點: *全不銹鋼設計,外形美觀耐用。 *體積小,不占空間,移動方便。 *耗能低,效率高。 *拆裝方便,內外部易清理,無衛生死角,符合食品級GMP規范。 *自動化作業,可24小時連續生產。 *超靜低音設計。 *密封嚴謹,液體不泄露,粉塵不飛揚。 *可單層、多層使用,一次多級篩選。 | 型號 | 功率 | 篩面直徑mm | 有效面積m2 | 體積mm | 備注說明 | | FASTZ-600 | 0.12 | 520 | 0.2124 | 740×600×560 |
| | FASTZ-800 | 0.18 | 720 | 0.4072 | 1010×800×600 |
| | FASTZ-1000 | 0.18 | 890 | 0.6221 | 1200×970×640 |
| | FASTZ-1200 | 0.25 | 1090 | 0.9331 | 1430×1170×700 |
| | FASTZ-1500 | 0.55 | 1390 | 1.5175 | 1780×1470×760 |
|
注:FASTZ系列直排振動篩、旋振篩正常規格為全不銹鋼設計,使用材料為:SUS27(#304,#316)。 為配合個別行業或用戶的需求,而有各類型的設計,例如:加緣式、閘門式、擋板式、噴水式等。且接受規格外尺寸定制。 直排振動篩/下排振動篩 標準機型規格 
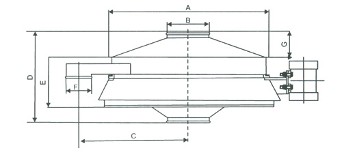
| 型號 | A | B | C | D | E | F | G | | FASTZ-600 | 600 | 150 | 380 | 560 | 325 | 120 | 80 | | FASTZ-800 | 800 | 200 | 540 | 600 | 350 | 125 | 90 | | FASTZ-1000 | 970 | 250 | 640 | 640 | 350 | 150 | 100 | | FASTZ-1200 | 1170 | 250 | 700 | 700 | 400 | 180 | 120 | | FASTZ-1500 | 1470 | 250 | 760 | 760 | 440 | 200 | 120 |
新鄉法斯特 開創中國振動篩分、輸送、壓榨過濾新紀元 致力于解決篩分、輸送、壓榨、過濾等技術領域難題 24小時咨詢服務熱線:13937345447 13603736976 孟廣臣 13837347077 郭麗麗 聯系電話:0373-3516365(總機)-801、802、803(分機) 3519169 圖文傳真:0373-3519169 3516366 網 址: 振動篩規模制造商 外貿振動篩代工基地 中國振動篩批發制造中心 壓榨脫水機典范制造企業 直排篩、振動篩、篩粉機、壓榨機、過濾機、輸送機、提升機、給料機一條龍生產廠家 打造行業精工裝備 服務現代工業經濟 ——河南省新鄉市法斯特機械有限公司


|