用戶名: 密碼: 忘記密碼
設為首頁 - 黃金展位 -   企業注冊   個人注冊
中國振動機械行業第一網絡媒體
在線咨詢網站客服
我要搜索:
熱門搜索: 振動篩 谷物清選機 破碎機 旋振篩 直線篩 篩網
超聲波振動篩 振動電機 振動給料機 輸送機 粉碎機 提升機
本站首頁 | 我要采購 | 我要銷售 | 電子樣本 | 品牌企業 | 企業招聘 | 振動機械書籍 | 行業人物 | 市場分析 | 行業設備 | 政策法規 | 企業新聞 | 振動機械 | RSS訂閱
直排振動篩、直排料振動篩 價格
產品名稱:   直排振動篩、直排料振動篩 			 直排振動篩、直排料振動篩
價格:  一臺也批發元/臺
原價:   實體生產廠家自營直銷 元/臺
發布日期:  2025-11-29
 法斯特機械-振動篩輸送機廠家自營官網平臺
聯系人:  孟總
聯系電話:  0373-3516365-801、802 3519169
傳真:  0373-3519169
手機:  13937345447
公司地址:  河南省新鄉市牧野工業園區
郵箱:  xxzdsb@sina.com
直排振動篩、直排料振動篩 信息描述

直排振動篩(下出料振動篩、直卸篩)

       直排篩也稱直卸式振動篩,以單臺或兩臺臥式振動電機為激振源,振動電機置于機體一側(雙振動電機位于機體兩側),物料進入設備內部后,受振動源作用力在篩面上做橢圓運動軌跡,快速并往復,完成過網動作的同時,振動力能往并連續的對物料產生剝離、打散及重組的作用,從而使物料快速過網,不能過網的物料則按設備運動軌跡由篩上排料口排出,完成篩分作業過程。

       新鄉法斯特專業制造直排振動篩,交貨工期快、質量之選(不開焊、振不裂,攻克技術難題)、價格之選、睿智之選。

       直排振動篩是針對需要快速下料行業的粗篩(一般建議篩網使用不超過30目較好)工藝或者安全檢查設計的直排振動篩(安全檢查篩)、下排振動篩,下料快。

       直排振動篩/下排振動篩應用范圍:
  法斯特FASTZ直排振動篩又名下排振動篩、下出料振動篩、直排震動篩、直排旋振篩、圓形振動篩、大產量振動篩、安全檢查篩,是一種多用途新型振動篩分機,可采用雙電機結構形式和單電機結構形式,物料的運行軌跡有多種調節形式,設備適應性顯著增加;物料直接排放 ,有大的處理量。FASTZ—1000型篩機,網目24目,在線篩分制造方便面用小麥粉,用于除雜、增加小麥粉比表面積, 可達到350Kg/150秒,多用于面粉、淀粉、洗衣粉、金屬粉、添加劑、化工、非礦等行業的顆粒、粉末的粗略篩分、精密篩分,處理量大、易與生產線結合。您可600mm至1500mm之間有更多的選擇。

       直排振動篩/下排振動篩產品概述:
       直排振動篩的作用原理:振動電機軸上下端地兩組偏心塊(不平衡偏心塊),將振動電機地旋轉運動變為水平、垂直、傾斜以及離心作用地多作用力重疊。再將這種作用力傳遞給篩面。改變上下偏心塊地相位角和重量,可以改變激振力地大小和物料地運動軌跡。

  直排振動篩/下排振動篩工作特點:
       *全不銹鋼設計,外形美觀耐用。
       *體積小,不占空間,移動方便。
       *耗能低,效率高。
       *拆裝方便,內外部易清理,無衛生死角,符合食品級GMP規范。
       *自動化作業,可24小時連續生產。
       *超靜低音設計。
       *密封嚴謹,液體不泄露,粉塵不飛揚。
       *可單層、多層使用,一次多級篩選。

型號功率篩面直徑mm有效面積m2體積mm備注說明
FASTZ-6000.125200.2124740×600×560
FASTZ-8000.187200.40721010×800×600
FASTZ-10000.188900.62211200×970×640
FASTZ-12000.2510900.93311430×1170×700
FASTZ-15000.5513901.51751780×1470×760

       注:FASTZ系列直排振動篩、旋振篩正常規格為全不銹鋼設計,使用材料為:SUS27(#304,#316)。

             為配合個別行業或用戶的需求,而有各類型的設計,例如:加緣式、閘門式、擋板式、噴水式等。且接受規格外尺寸定制。
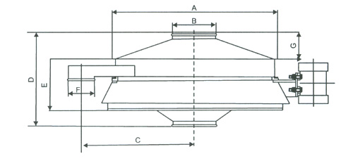
       直排振動篩/下排振動篩 標準機型規格

型號ABCDEFG
FASTZ-60060015038056032512080
FASTZ-80080020054060035012590
FASTZ-1000970250640640350150100
FASTZ-12001170250700700400180120
FASTZ-15001470250760760440200120

 

新鄉法斯特 開創中國振動篩分、輸送、壓榨過濾新紀元

致力于解決篩分、輸送、壓榨、過濾等技術領域難題

24小時咨詢服務熱線:13937345447   13603736976  孟廣臣  13837347077 郭麗麗

聯系電話:0373-3516365(總機)-801、802、803(分機)   3519169    圖文傳真:0373-3519169    3516366

網    址:

振動篩規模制造商 外貿振動篩代工基地  中國振動篩批發制造中心 壓榨脫水機典范制造企業

直排篩、振動篩、篩粉機、壓榨機、過濾機、輸送機、提升機、給料機一條龍生產廠家  

打造行業精工裝備  服務現代工業經濟 ——河南省新鄉市法斯特機械有限公司




法斯特機械-振動篩輸送機廠家自營官網平臺簡介

    新鄉市法斯特機械有限公司是集振動篩分設備、過濾篩、無塵投料站、真空上料機、輸送提升、螺旋壓榨機的研發、制造、銷售為一體的實體生產企業,實繳注冊資金,具有增值稅一般納稅人資格(13%),統一社會信用代碼:91410711097903707W,位于中國振動篩分機械設備之都、輕工壓榨機械之鄉-河南省新鄉市,致力于解決篩分、過濾、輸送、壓榨技術難題,是一家民營股份制企業,是新鄉地區技術專業的振動篩制造商和壓榨機制造示范企業,首批國家發改委批復信用試點平臺“守信承諾企業”。

    產品涉及振動篩分機械、過濾機械、輸送機械、輕工機械等四大系列,主要產品有:圓形振動篩、超聲波振動篩、旋振篩、搖擺篩、試驗篩、直線篩、直線振動篩直排振動篩、臥式氣旋篩、立式氣流篩、無塵投料站、真空上料機、雙螺旋壓榨機、螺旋輸送機、斗式提升機除梗破碎機、振動篩橡膠配件等。在經歷行業多次洗牌后,法斯特機械以其雄厚的實力、過硬的產品質量和服務,成為客戶回頭率較高的生產企業之一,成為行業的嬌嬌者,也一直被眾多同行企業效仿。     

    法斯特機械憑借高效的管理模式和不斷提高的產品品質,上萬臺設備制造經驗和銷售業績贏得了眾多客戶的支持與厚愛,四大系列產品已經廣泛應用于產品廣泛應用于食品業、化學合成業、塑膠業、樹脂業、中西藥業、油漆涂料業、陶瓷業、金屬粉末礦產冶金業、磨料業、磁性材料業、造紙業、環保業等需要用到篩分、過濾、壓榨工藝的行業。已經與中科院、中石油、中石化、中核工業、中電子、中航工業、華能、質檢所、藥研院、康師傅、盼盼、達利食品、米老頭食品、五得利面粉、首農、歐派、蒂森克虜伯等眾多央企、上市企業、外資公司廣泛合作。

    法斯特機械秉承務實的工作作風,盡力滿足客戶之需求,可為客戶提供篩分、過濾、無塵投料、提升輸送、壓榨脫水等工藝生產線設計,承接標準和非標產品的生產制造。  

    新鄉法斯特開創中國振動篩分、輸送、壓榨過濾新紀元

    致力于解決篩分、輸送、壓榨、過濾等技術領域難題

    24小時咨詢服務熱線:13937345447  13603736976 孟經理    13837347077 郭小姐

    聯系電話:0373-3516365(總機)-801、802、803  3519169     圖文傳真:0373-3519169 

    振動篩規模制造商 外貿振動篩代工基地  中國振動篩批發制造中心  壓榨脫水機典范企業

    振動篩(震動篩)、篩粉機、振動分級篩、過濾機、無塵投料、壓榨機、脫水機、輸送機、提升機一站式生產廠家  

    打造行業精工裝備  服務現代工業經濟 ——新鄉市法斯特機械有限公司

                           



網站首頁 | 網站簡介 | 網站地圖 | 法律聲明 | 聯系我們 | 服務項目 | 篩分通會員 | 廣告合作 | 投訴建議 | 友情鏈接 | 申請友情鏈接
全國統一客服熱線:0371-56727233 振動篩分交流群① 58519197(滿)② 107250318(滿) ③ 87177774(未滿) ④ 35419702(未滿)
© 2007- 中國振動機械網 版權所有 豫ICP備11007950號 增值電信業務經營許可證:豫B2-20190850
客服郵箱: 本站法律顧問:河南光法律師事務所  
中國振動機械網客服:871792307 1321379918 技術:中國振動機械網技術支持:497398702