法斯特一家懂篩分的振動篩制造廠家 源頭實體工廠 13937345447 歡迎蒞臨指導工作
直排振動篩(下出料振動篩、直卸篩、直排篩)
直排篩也稱直卸式振動篩,以單臺或兩臺臥式振動電機為激振源,振動電機置于機體一側(雙振動電機位于機體兩側),物料進入設備內部后,受振動源作用力在篩面上做橢圓運動軌跡,快速并往復,完成過網動作的同時,振動力能往并連續的對物料產生剝離、打散及重組的作用,從而使物料快速過網,不能過網的物料則按設備運動軌跡由篩上排料口排出,完成篩分作業過程。 新鄉法斯特專業制造直排振動篩,交貨工期快、質量之選(不開焊、振不裂,攻克技術難題)、價格之選、睿智之選。 直排振動篩是針對需要快速下料行業的粗篩(一般建議篩網使用不超過30目較好)工藝或者安全檢查設計的直排振動篩(安全檢查篩)、下排振動篩,下料快。 直排振動篩/下排振動篩應用范圍: 法斯特FASTZ直排振動篩又名下排振動篩、下出料振動篩、直排震動篩、直排旋振篩、圓形振動篩、大產量振動篩、安全檢查篩,是一種多用途新型振動篩分機,可采用雙電機結構形式和單電機結構形式,物料的運行軌跡有多種調節形式,設備適應性顯著增加;物料直接排放 ,有大的處理量。FASTZ—1000型篩機,網目24目,在線篩分制造方便面用小麥粉,用于除雜、增加小麥粉比表面積, 可達到350Kg/150秒,多用于面粉、淀粉、洗衣粉、金屬粉、添加劑、化工、非礦等行業的顆粒、粉末的粗略篩分、精密篩分,處理量大、易與生產線結合。您可600mm至1500mm之間有更多的選擇。 直排振動篩/下排振動篩產品概述: 直排振動篩的作用原理:振動電機軸上下端地兩組偏心塊(不平衡偏心塊),將振動電機地旋轉運動變為水平、垂直、傾斜以及離心作用地多作用力重疊。再將這種作用力傳遞給篩面。改變上下偏心塊地相位角和重量,可以改變激振力地大小和物料地運動軌跡。 
直排振動篩/下排振動篩工作特點: *全不銹鋼設計,外形美觀耐用。 *體積小,不占空間,移動方便。 *耗能低,效率高。 *拆裝方便,內外部易清理,無衛生死角,符合食品級GMP規范。 *自動化作業,可24小時連續生產。 *超靜低音設計。 *密封嚴謹,液體不泄露,粉塵不飛揚。 *可單層、多層使用,一次多級篩選。 | 型號 | 功率 | 篩面直徑mm | 有效面積m2 | 體積mm | 備注說明 | | FASTZ-600 | 0.12 | 520 | 0.2124 | 740×600×560 |
| | FASTZ-800 | 0.18 | 720 | 0.4072 | 1010×800×600 |
| | FASTZ-1000 | 0.18 | 890 | 0.6221 | 1200×970×640 |
| | FASTZ-1200 | 0.25 | 1090 | 0.9331 | 1430×1170×700 |
| | FASTZ-1500 | 0.55 | 1390 | 1.5175 | 1780×1470×760 |
|
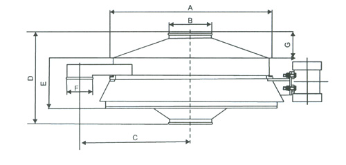
注:FASTZ系列直排振動篩、旋振篩正常規格為全不銹鋼設計,使用材料為:SUS27(#304,#316)。 為配合個別行業或用戶的需求,而有各類型的設計,例如:加緣式、閘門式、擋板式、噴水式等。且接受規格外尺寸定制。 直排振動篩/下排振動篩 標準機型規格 
| 型號 | A | B | C | D | E | F | G | | FASTZ-600 | 600 | 150 | 380 | 560 | 325 | 120 | 80 | | FASTZ-800 | 800 | 200 | 540 | 600 | 350 | 125 | 90 | | FASTZ-1000 | 970 | 250 | 640 | 640 | 350 | 150 | 100 | | FASTZ-1200 | 1170 | 250 | 700 | 700 | 400 | 180 | 120 | | FASTZ-1500 | 1470 | 250 | 760 | 760 | 440 | 200 | 120 |
新鄉法斯特 開創中國振動篩分、輸送、壓榨過濾新紀元 致力于解決篩分、輸送、壓榨、過濾等技術領域難題 24小時咨詢服務熱線:13937345447 13603736976 孟 總 13837347077 郭麗麗 聯系電話:0373-3516365(總機)-801、802、803(分機) 3519169 圖文傳真:0373-3519169 網 址: 振動篩規模制造商 外貿振動篩代工基地 中國振動篩批發制造中心 壓榨脫水機典范制造企業 直排篩、振動篩、篩粉機、壓榨機、過濾機、輸送機、提升機、給料機一條龍生產廠家 打造行業精工裝備 服務現代工業經濟 ——河南省新鄉市法斯特機械有限公司



法斯特有今天的成績離不開全體員工和新老客戶及供應商的信任和支持,法斯特感恩有您! 有篩分工藝的地方就有新鄉法斯特振動篩!24小時技術咨詢、選型服務電話:13937345447 篩分無止境 |