用戶名: 密碼: 忘記密碼
設為首頁 - 黃金展位 -   企業注冊   個人注冊
中國振動機械行業第一網絡媒體
在線咨詢網站客服
我要搜索:
熱門搜索: 振動篩 谷物清選機 破碎機 旋振篩 直線篩 篩網
超聲波振動篩 振動電機 振動給料機 輸送機 粉碎機 提升機
本站首頁 | 我要采購 | 我要銷售 | 電子樣本 | 品牌企業 | 企業招聘 | 振動機械書籍 | 行業人物 | 市場分析 | 行業設備 | 政策法規 | 企業新聞 | 振動機械 | RSS訂閱
 您當前位置:首頁 >> 行業資訊 >> 行業資訊熱門:2021中國(鄭州)國際砂石及尾礦與建筑固廢處理技術展覽會
 

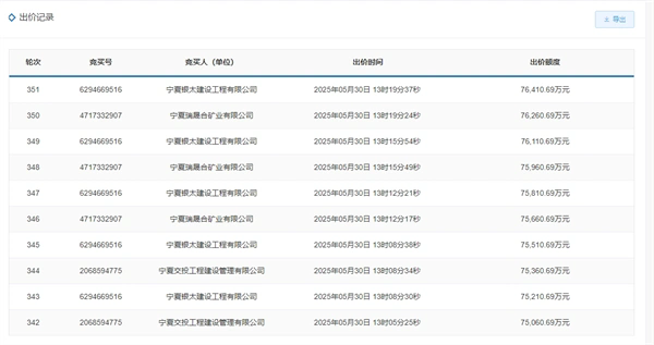
溢價率高達1339%!寧夏民企20.55元/噸競得當地砂石礦

2025-06-05 來源: 中國振動機械網
近日,寧夏公共資源交易平臺發布固原市原州區張易鎮南灣村建筑用砂礦采礦權出讓結果。歷經351輪競拍,寧夏銀太建設工程有限公司以7.64億元競得該項目礦權。該礦資源儲量3718.1萬噸,生產規模..

近日,寧夏公共資源交易平臺發布固原市原州區張易鎮南灣村建筑用砂礦采礦權出讓結果。歷經351輪競拍,寧夏銀太建設工程有限公司以7.64億元競得該項目礦權。該礦資源儲量3718.1萬噸,生產規模約300萬噸/年,擬出讓年限12.5年,起始價5310.69萬元,溢價率高達1339%,競得成本20.55元/噸。
 


該礦位于原州區張易鎮南灣村,競買人競得礦業權后,必須按照礦產資源開采登記管理辦法有關規定,依法辦理采礦許可證。出讓收益金通過出讓金額的形式征收,采取分期繳納。出讓人與競得人簽訂《采礦權出讓合同》,首次繳納本次掛牌確定成交價的15%,剩余部分在采礦許可證有效期內按年度分期繳清,均攤征收年限為采礦許可證有效期的一半。

據悉,寧夏銀太建設工程有限公司成立于2023年9月21日,所屬行業為土木工程建筑業,經營范圍包含建設工程施工、建筑勞務分包、地質災害治理工程施工、施工專業作業、非煤礦山礦產資源開采、對外承包工程、園林綠化工程施工、土石方工程施工、建筑材料銷售、建筑砌塊銷售等。


本文關鍵詞:

采礦權 建筑用砂礦 礦產資源

責任編輯:曉麗
中國振動機械網版權與免責聲明:(點擊查看)
采礦權 建筑用砂礦 礦產資源 ”更多相關資訊
 · 必和必拓:已與中國礦產資源集團完成鐵礦石銷售合同談判... (2026-04-22)
 · 新疆300萬噸煤礦項目進入實質性建設階段 (2026-04-21)
 · 795萬方/年!廣東江門儲量2381萬方海砂礦權出讓提速 (2026-04-21)
 · 甘肅省首筆“采礦權抵押+生物多樣性金融”項目貸款成功落地... (2026-04-21)
 · 增儲上產,“礦產資源小省”也當發力 (2026-04-21)
 · 紅利與紅線并存!新疆支持綠色礦山享高新技術企業稅惠,14條 “高壓線”... (2026-04-21)
 · 山西規范露天采石場與露天礦山分類管理 (2026-04-21)

產品 貿易 企業 資訊 技術 展會  
產品搜索:
熱礦篩 旋振篩 脫水篩 圓振動篩
直線振動篩 氣流篩分機 高效重型篩 200拍擊篩
螺旋輸送機 帶式輸送機 振動輸送機 鏈式輸送機
振動給料機 復式給料機 雙軸攪拌機 振動料斗
振動給煤機 旋振磨 振動磨 渦輪式粉碎機
振動提升機 斗式提升機 垂直提升機 立式振動電機
最新推薦新聞
950萬噸/年!廣西一石灰巖礦推動無人化轉型...
總投資8億元!湖北980萬噸/年建筑石料用灰巖礦初步...
新疆300萬噸煤礦項目進入實質性建設階段...
795萬方/年!廣東江門儲量2381萬方海砂礦權出讓提...
增儲上產,“礦產資源小省”也當發力...
今年一季度陜西省煤炭產量1.92億噸,同比增幅4.2%...
陽西礦業年產2700萬噸砂石項目試運行順利完成...
山西規范露天采石場與露天礦山分類管理...
邳州新港首列煤炭專列進港,公鐵水聯運全面運行...
銜接5.46億噸礦山!中國電建年吞吐量1500萬噸碼頭...
篩分通誠信企業推薦
  • 重型機械
  • 輕型機械
  • 電機配件
高服機械威猛振動四達振動
神宇機械萬力振動北海礦山
河南萬泰鑫鷹環保宇環機械
志遠篩子王金特振動新鄉威遠
恒錦冶金中鑫機械朝陽振動
高服機械大漢振動篩天和振動篩
力天振動偉良搖擺篩重慶宏展
先臣機械三辰機械恒久振動
鑫達振動興邦機械天惠通用
元升振動廣建機械歐霖佳機械
盾牌篩網眾鑫振動電機新鄉振動電機
通達振動電機明電電氣安泰篩網
金山網業金馬礦機啟航過濾
宏達振動惠寶振動電機宏達煤化設備
寶飛振動電機凡士通彈簧盾發篩網
一周資訊排行
斥資24億美元,兗礦能源收購澳洲紅隼煤炭1...(04-15)
毛利率 56.55%!砂石骨料業務成尖峰集團建...(04-15)
冀東水泥200萬噸/年骨料線投產,加快構建...(04-15)
中國電建西北院取得特種機制砂生產工藝專...(04-15)
中聯重科取得多工況振動篩相關專利,多工...(04-17)
自然資源部部長關志鷗會見安哥拉礦產資源...(04-15)
年產400萬噸精品骨料!中建西建砂石項目正...(04-15)
平陸運河,2026年通航!700億“世紀工程”...(04-17)
銷量破8500萬噸!砂石骨料業務成為該央企...(04-17)
美卓升級骨料數字化服務組合,助力客戶提...(04-17)
網站首頁 | 網站簡介 | 網站地圖 | 法律聲明 | 聯系我們 | 服務項目 | 篩分通會員 | 廣告合作 | 投訴建議 | 友情鏈接 | 申請友情鏈接
全國統一客服熱線:0371-56727233 振動篩分交流群① 58519197(滿)② 107250318(滿) ③ 87177774(未滿) ④ 35419702(未滿)
© 2007- 中國振動機械網 版權所有 豫ICP備11007950號 增值電信業務經營許可證:豫B2-20190850
客服郵箱: 本站法律顧問:河南光法律師事務所  
中國振動機械網客服:871792307 1321379918 技術:中國振動機械網技術支持:497398702