用戶名: 密碼: 忘記密碼
設為首頁 - 黃金展位 -   企業注冊   個人注冊
中國振動機械行業第一網絡媒體
在線咨詢網站客服
我要搜索:
熱門搜索: 振動篩 谷物清選機 破碎機 旋振篩 直線篩 篩網
超聲波振動篩 振動電機 振動給料機 輸送機 粉碎機 提升機
本站首頁 | 我要采購 | 我要銷售 | 電子樣本 | 品牌企業 | 企業招聘 | 振動機械書籍 | 行業人物 | 市場分析 | 行業設備 | 政策法規 | 企業新聞 | 振動機械 | RSS訂閱
 您當前位置:首頁 >> 行業資訊 >> 行業資訊熱門:2021中國(鄭州)國際砂石及尾礦與建筑固廢處理技術展覽會
 

成本價高達20.5元/噸!該民企溢價1339%競得一砂石礦!

2025-06-16 來源: 中國振動機械網
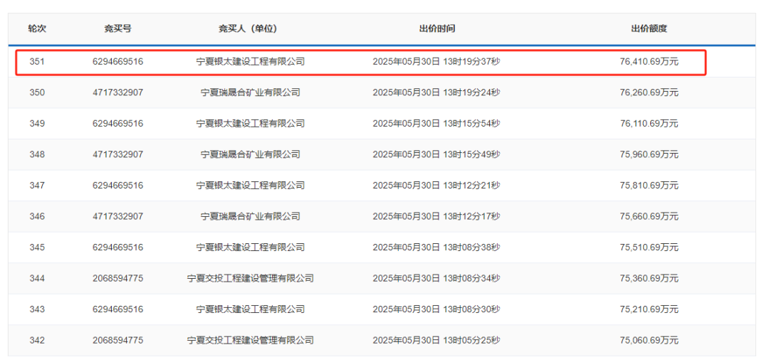
近日,歷經351輪激烈競拍,寧夏銀太建設工程有限公司以7.64億元競得固原市原州區建筑用砂礦,溢價率高達1339%,達到20.5元/噸的競得成本。據悉,該礦資源儲量3718.1萬噸,年產規模300萬噸,出讓年..

近日,歷經351輪激烈競拍,寧夏銀太建設工程有限公司以7.64億元競得固原市原州區建筑用砂礦,溢價率高達1339%,達到20.5元/噸的競得成本。據悉,該礦資源儲量3718.1萬噸,年產規模300萬噸,出讓年限12.5年,起拍價5310.69萬元,最終成交價增加7億,單價由1.42元/噸增加至20.5元/噸。
 

 


據了解,出讓收益金通過出讓金額的形式征收,采取分期繳納。出讓人與競得人簽訂《采礦權出讓合同》,競得人首次向礦業權出讓收益征管機關繳納本次掛牌確定成交價的15%,剩余部分在采礦許可證有效期內按年度分期繳清,均攤征收年限為采礦許可證有效期的一半。
 


據悉,寧夏銀太建設工程有限公司成立于2023年9月21日,所屬行業為土木工程建筑業,經營范圍包含建設工程施工、建筑勞務分包、非煤礦山礦產資源開采、建筑材料銷售、建筑砌塊銷售等。


本文關鍵詞:

非煤礦山 建筑用砂礦 礦產資源

責任編輯:曉麗
中國振動機械網版權與免責聲明:(點擊查看)
非煤礦山 建筑用砂礦 礦產資源 ”更多相關資訊
 · 甘肅省首筆“采礦權抵押+生物多樣性金融”項目貸款成功落地... (2026-04-21)
 · 增儲上產,“礦產資源小省”也當發力 (2026-04-21)
 · 紅利與紅線并存!新疆支持綠色礦山享高新技術企業稅惠,14條 “高壓線”... (2026-04-21)
 · 山西規范露天采石場與露天礦山分類管理 (2026-04-21)
 · 溢價超338倍!新疆托里銅多金屬礦探礦權1.01億元成交 (2026-04-21)
 · 涉案16人、查扣鎢礦1174噸!新疆和碩警方破獲一起非法采礦案... (2026-04-20)
 · “城市礦山”藏有多少“富礦”? (2026-04-17)

產品 貿易 企業 資訊 技術 展會  
產品搜索:
熱礦篩 旋振篩 脫水篩 圓振動篩
直線振動篩 氣流篩分機 高效重型篩 200拍擊篩
螺旋輸送機 帶式輸送機 振動輸送機 鏈式輸送機
振動給料機 復式給料機 雙軸攪拌機 振動料斗
振動給煤機 旋振磨 振動磨 渦輪式粉碎機
振動提升機 斗式提升機 垂直提升機 立式振動電機
最新推薦新聞
950萬噸/年!廣西一石灰巖礦推動無人化轉型...
總投資8億元!湖北980萬噸/年建筑石料用灰巖礦初步...
新疆300萬噸煤礦項目進入實質性建設階段...
795萬方/年!廣東江門儲量2381萬方海砂礦權出讓提...
增儲上產,“礦產資源小省”也當發力...
今年一季度陜西省煤炭產量1.92億噸,同比增幅4.2%...
陽西礦業年產2700萬噸砂石項目試運行順利完成...
山西規范露天采石場與露天礦山分類管理...
邳州新港首列煤炭專列進港,公鐵水聯運全面運行...
銜接5.46億噸礦山!中國電建年吞吐量1500萬噸碼頭...
篩分通誠信企業推薦
  • 重型機械
  • 輕型機械
  • 電機配件
高服機械威猛振動四達振動
神宇機械萬力振動北海礦山
河南萬泰鑫鷹環保宇環機械
志遠篩子王金特振動新鄉威遠
恒錦冶金中鑫機械朝陽振動
高服機械大漢振動篩天和振動篩
力天振動偉良搖擺篩重慶宏展
先臣機械三辰機械恒久振動
鑫達振動興邦機械天惠通用
元升振動廣建機械歐霖佳機械
盾牌篩網眾鑫振動電機新鄉振動電機
通達振動電機明電電氣安泰篩網
金山網業金馬礦機啟航過濾
宏達振動惠寶振動電機宏達煤化設備
寶飛振動電機凡士通彈簧盾發篩網
一周資訊排行
斥資24億美元,兗礦能源收購澳洲紅隼煤炭1...(04-15)
毛利率 56.55%!砂石骨料業務成尖峰集團建...(04-15)
冀東水泥200萬噸/年骨料線投產,加快構建...(04-15)
中國電建西北院取得特種機制砂生產工藝專...(04-15)
中聯重科取得多工況振動篩相關專利,多工...(04-17)
自然資源部部長關志鷗會見安哥拉礦產資源...(04-15)
年產400萬噸精品骨料!中建西建砂石項目正...(04-15)
平陸運河,2026年通航!700億“世紀工程”...(04-17)
銷量破8500萬噸!砂石骨料業務成為該央企...(04-17)
美卓升級骨料數字化服務組合,助力客戶提...(04-17)
網站首頁 | 網站簡介 | 網站地圖 | 法律聲明 | 聯系我們 | 服務項目 | 篩分通會員 | 廣告合作 | 投訴建議 | 友情鏈接 | 申請友情鏈接
全國統一客服熱線:0371-56727233 振動篩分交流群① 58519197(滿)② 107250318(滿) ③ 87177774(未滿) ④ 35419702(未滿)
© 2007- 中國振動機械網 版權所有 豫ICP備11007950號 增值電信業務經營許可證:豫B2-20190850
客服郵箱: 本站法律顧問:河南光法律師事務所  
中國振動機械網客服:871792307 1321379918 技術:中國振動機械網技術支持:497398702